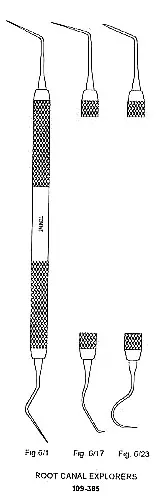
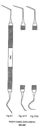
Explorer Root Canal

SKU: 109-385-6-23

Description

Explorer Root Canal, Round / Solid Handle, D/E, Fig.6/23

Related Products